Кірпіш блок машинасының ингредиенттері

PLD сериялы пакеттік машина


Құрылыс, жол және көпір жобалары үшін


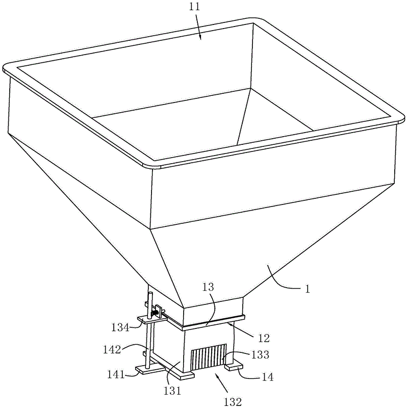
Кірпіш блок машинасының ингредиенттеріне арналған PLD800 үлгісі


Ылғалды жағдайларға арналған орталық разряд


Патенттелген айналмалы экран (ұзақ қызмет ету мерзімі)


Дәл өлшеу арқылы белдік ағызу


Өнім мәліметтері

1. Тазартылған шикізат силостарын басқару

Әр түрлі материалдардың өзара ластануын болдырмау үшін әрбір силос белгілі бір шикізатқа арналған бөліктерге бөлінген сақтау дизайны қолданылады.

Сүрлемде қалған шикізатты нақты уақыт режимінде бақылап отыру үшін материал деңгейін бақылау құрылғысы (мысалы, радиолокациялық деңгей өлшегіш) орнатылады, бұл уақтылы толтыруды қамтамасыз етеді және толып кетуді болдырмайды.

Кірпіш блок машинасының ингредиенттері

2. Сандық азықтандыруды бақылау

Әрбір силос шығысы бір шикізатты дәл өлшеуге қол жеткізу үшін тәуелсіз сандық беру құрылғысымен (мысалы, бұрандалы конвейер немесе таспа шкаласы) жабдықталған.

Жабық циклды басқару жүйесі нақты беру мөлшері туралы кері байланысты қамтамасыз ету үшін жүктеме ұяшығын пайдаланады. Құрылғының жылдамдығы орнатылған мәнмен салыстырғаннан кейін автоматты түрде реттеледі, бұл арақатынас қателігін ±0,5% шегінде қамтамасыз етеді.

3. Көп материалды агрегатты тасымалдау

Әрбір сандық қоректендіру құрылғысынан шығатын шикізат конвергерлік таспа немесе қырғыш конвейер арқылы араластырғыш жабдыққа тасымалданады. Тасымалдау процесінде материалдың жиналуын немесе сынуын болдырмау үшін біркелкі тасымалдау жылдамдығы сақталады.

Сериялық нөмірі

аты

Техникалық сипаттама

саны

бірлік

1

PLD1200

Шикізат сақтау қоймасы

4 м³

2

жеке

Экранды шайқау

2800*2500

1

жеке

Таразы шелегі

0,8㎡

1

жеке

сенсор

ZMLBF-1000

3

жеке

Мотор

2,2 кВт

2

мұнара

Скрейка қозғалтқышы

2,2 кВт

1

мұнара

Конвейер таспасы

B500

3

жолақ

Жақтау

Болат құрылымы

1

орнату


Хабарламаларыңызды қалдырыңыз

Байланысты өнімдер

x

Танымал өнімдер

x
x